Yamaha Timberwolf Engine Diagram

Yamaha Timberwolf Engine Diagram. This parts catalog pertains to yamaha models sold in the united states. Web your #1 online source of new genuine original oem parts for yamaha timberwolf 250 atv (31623) at discounted prices from manufacturers' warehouses in japan, usa, uae.

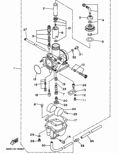
Yamaha Timberwolf 5 Engine Diagram Yamaha, Diagram, Parts
Yamaha Timberwolf 5 Engine Diagram Yamaha, Diagram, Parts from www.pinterest.com

Web breaking down the diagram. Web 1998 yamaha timberwolf (yfb250uk) original equipment manufacturer parts at flemington yamaha. Web yamaha timberwolf engine diagram / 1998 yamaha timberwolf 250 4x4 utility atv oem parts motosport /.

This Parts Catalog Pertains To Yamaha Models Sold In The United States.


Web the wiring diagram for the yamaha timberwolf 250 includes the following components: This is the device responsible for supplying power to the. Web a wiring diagram makes the whole process simpler by providing essential information about each component’s purpose, location, and wiring.

A Way Of Life Call Us:(02) 9602 3773.


Web your #1 online source of new genuine original oem parts for yamaha timberwolf 250 atv (31623) at discounted prices from manufacturers' warehouses in japan, usa, uae. Web browse oem parts for yamaha parts yfb250 (timberwolf 2wd) 1996 starting motor. It is also known as timberwolf 250 2wd or 4wd.

If The Engine Still Does Not Fire Up,.


All wiring diagrams have certain items in. The first step to mastering yamaha wiring diagrams is to learn each of its components. The atv is 72 inches from the front bumper to the rear.

Web For Starters, Yamaha Timberwolf 250 Wiring Diagrams Provide Detailed Information About The Electrical Systems And Components Of The Atv.


Web 1998 yamaha timberwolf (yfb250uk) original equipment manufacturer parts at flemington yamaha. Web yamaha timberwolf cdi wiring diagrams provide the details you need to understand the various components of your atv’s internal wiring system. The total weight of the atv when dry and clean is 438 lbs.

Web Yamaha Timberwolf Engine Diagram / 1998 Yamaha Timberwolf 250 4X4 Utility Atv Oem Parts Motosport /.


Posted by jimmy mc pherson on aug 16, 2018. Web breaking down the diagram.